数据复盘丨75股获主力资金净流入超亿元 龙虎榜机构抢筹12股
4月10日,上证指数、深证成指、创业板指、科创50指数早盘冲高回落,午后高位窄幅震荡。截至收盘,上证指数报3223.64点,涨1.16%,成交额6823.57亿元;深证成指报9754.64点,涨2.25%,成交额9271.11亿元;创业板指报1900.53点,涨2.27%,成交额4251.57亿元;科创50指数报991.22点,涨1.09%,成交额1157.71亿元。沪深两市合计成交16094.68亿元,成交额较上一交易日减少901.37亿元。
所有行业板块、概念都上涨 海鸥住工(002084)连收6个涨停板
盘面上来看,今日所有行业板块、概念都上涨。其中,商贸零售、纺织服装、有色金属、汽车、传媒、轻工制造、机械设备、电子、教育、通信等行业涨幅靠前;乳业、代糖、跨境电商、统一大市场、首发经济、免税、户外露营、抗菌面料、小红书概念、人形机器人(300024)等概念走势活跃。涨停个股主要集中在商贸零售、电子、机械设备、轻工制造、汽车、交通运输、化工、纺织服装等行业。
个股涨跌情况,截至收盘,沪深两市合计4696只个股上涨,376只个股下跌,平盘个股59只,停牌的个股12只。不含当日上市新股,共有173只个股涨停,2只个股跌停。
涨停股中,从收盘涨停板封单量来看,连云港(601008)最受追捧,收盘涨停板封单有5366.44万股;其次是瑞茂通(600180)、中源家居(603709)、跨境通(002640)、美邦服饰(002269)、国芳集团(601086)、深康佳A等,涨停板封单分别有4493.41万股、3477.45万股、2605.8万股、2346.98万股、2256.27万股、2102.29万股。
以涨停板封单金额计算,15股封单金额超1亿元。其中,中源家居涨停板封单资金最多,涨停板封单资金为4.66亿元;其次是连云港、王府井(600859)、瑞茂通、欧亚集团(600697)、国芳集团、石英股份(603688)等,涨停板封单资金分别为3.35亿元、2.56亿元、2.48亿元、1.91亿元、1.73亿元、1.42亿元。

涨停股中,从连续涨停天数来看,连续涨停天数大于或等于2天的个股有26只,其中,海鸥住工连收6个涨停板,连续涨停板数量最多;其次是新赛股份(600540)、连云港、国芳集团均5连板;贝因美(002570)、青岛金王(002094)、天顺股份(002800)、中百集团(000759)、瑞茂通、中源家居均3连板;广宇集团(002133)、深康佳A、万事利、格力地产(600185)、铖昌科技、飞力达(300240)、锦江航运、畅联股份(603648)等16股均2连板。
沪深两市主力资金净流入79.22亿元 22个行业主力资金呈现净流入
Wind统计显示,沪深两市主力资金今日净流入79.22亿元。其中,创业板主力资金净流入7亿元,沪深300成份股主力资金净流入81.71亿元,科创板主力资金净流入20亿元。
从行业来看,申万所属的31个一级行业,今日有22个行业主力资金呈现净流入,其中,电子行业主力资金净流入最多,净流入金额为28.21亿元;行业主力资金净流入居前的还有食品饮料、商贸零售、汽车、银行、有色金属等,净流入金额分别为16.44亿元、14.02亿元、10.02亿元、10亿元、9.7亿元。 9个行业主力资金呈现净流出,其中,计算机行业主力资金净流出最多,净流出金额为17.09亿元;行业主力资金净流出靠前的还有农林牧渔、医药生物、非银金融等,净流出金额分别为11.4亿元、6.93亿元、5.09亿元。
尾盘主力资金净流入来看,有15个行业获尾盘主力资金净流入,其中,食品饮料行业尾盘主力资金净流入最多,净流入金额为1.68亿元;其次是银行、公用事业、家用电器、煤炭、环保等行业,尾盘主力资金净流入均超6000万元。

75股获主力资金净流入超亿元 尾盘主力资金抢筹慧博云通等
个股来看,今日有2427只个股获主力资金净流入,其中,75股获主力资金净流入超1亿元。工业富联(601138)主力资金净流入最多,净流入金额为8.03亿元;主力资金净流入居前的个股还有胜宏科技(300476)、双林股份(300100)、歌尔股份(002241)、分众传媒(002027)、紫金矿业(601899)等,净流入金额分别为5.85亿元、5.4亿元、4.93亿元、4.17亿元、4.16亿元。
尾盘主力资金净流入来看,有12股获尾盘主力资金净流入超5000万元,其中,慧博云通尾盘主力资金净流入最多,净流入金额为1.07亿元;其次是中国电信、美的集团(000333)、万马股份(002276)、京沪高铁、中国移动、寒武纪等,尾盘主力资金净流入分别为1.01亿元、8249.63万元、8160.58万元、7950.12万元、7050.95万元、6637.96万元。

36股被主力资金净卖出超亿元
今日有2701只个股被主力资金净卖出,其中,36股被主力资金净卖出超1亿元。主力资金净流出最多的个股是中国长城(000066),净流出金额为16.05亿元;主力资金净流出居前的个股还有金河生物(002688)、东方财富(300059)、北大荒(600598)、杭钢股份(600126)、紫光国微(002049)等,净流出金额分别为7.01亿元、6.65亿元、5.67亿元、5.47亿元、3.79亿元。
尾盘主力资金净卖出来看,有22股被尾盘主力资金净卖出超3000万元,其中,尾盘主力资金净流出最多的个股是东方财富,净流出金额为1.08亿元;其次是中国中免、中国长城、中国软件(600536)、比亚迪(002594)、北方华创(002371)等,尾盘主力资金净流出均超6500万元。

龙虎榜机构净买入12股 分众传媒居首
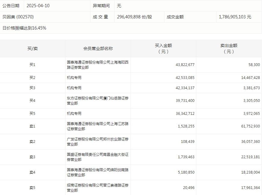
盘后龙虎榜数据显示,今日机构席位资金合计净买入约7.05亿元。其中,净买入的个股12只,净卖出的个股8只。机构净买入最多的股票是分众传媒,净买入金额约5.13亿元;机构净买入居前的还有贝因美、金河生物、汇金科技(300561)、西部牧业(300106)、福立旺等。机构净卖出最多的股票是潍柴重机(000880),净卖出金额约3861.12万元;机构净卖出居前的还有阳光乳业、新乳业(002946)等。

贝因美今天涨停。盘后数据显示,3家机构出现在龙虎榜单上,合计净买入9938.88万元;国泰海通证券(600837)股份有限公司上海海阳西路证券营业部买入4382.27万元,同时卖出5.83万元;国盛证券有限责任公司南昌金融大街证券营业部买入173.95万元,同时卖出2251.92万元。

相关文章

最新评论