英伟达AR眼镜专利公示:无背光驾驭户外场景,更轻、更亮、更清晰
分类三
2025年01月04日 14:00 41
admin
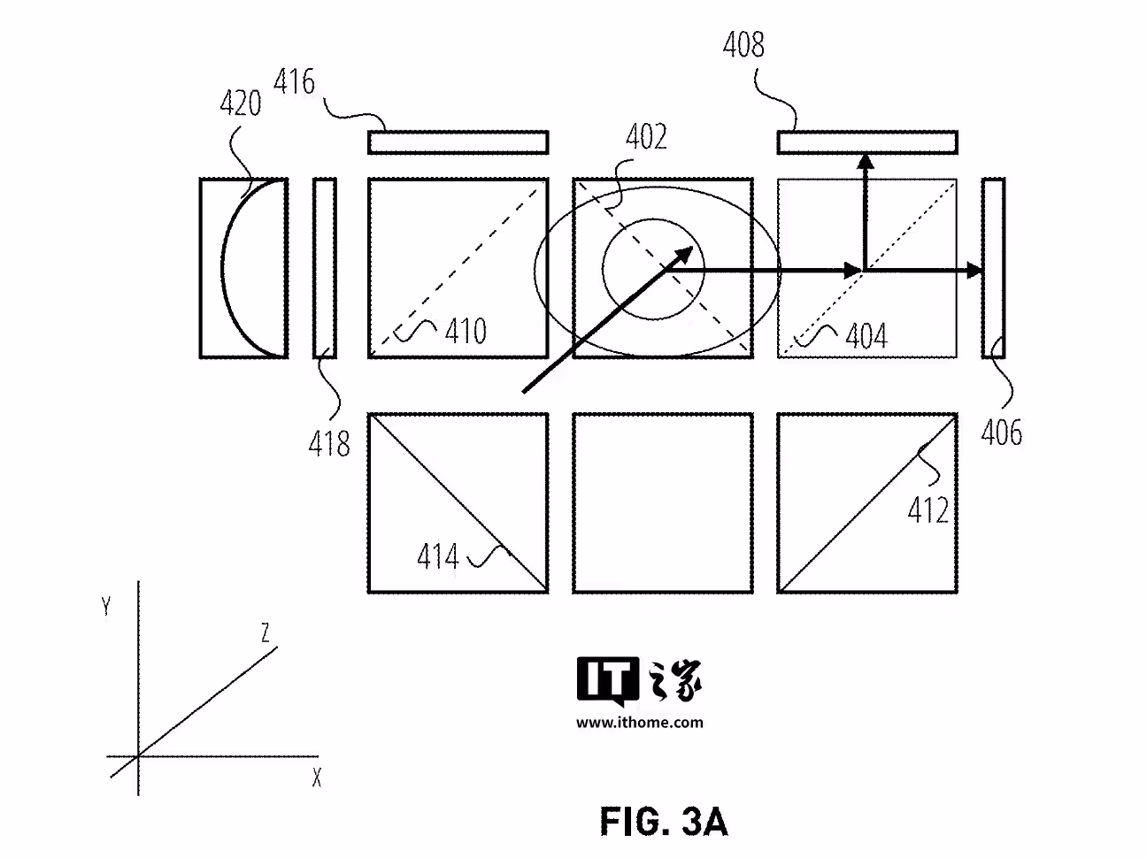
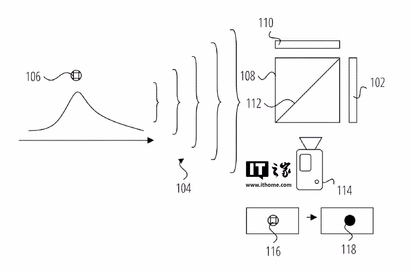
IT之家 1 月 4 日消息,根据美国商标和专利局 1 月 2 日公示的公告,英伟达公司获批一项《无背光增强现实数字全息术》专利,有望革新 AR 眼镜领域。

该专利技术摒弃了传统的背光系统,采用数字全息和环境光干涉技术,并通过基于深度学习的神经网络控制系统以及双视点立体显示,显著提升了户外显示效果,提升沉浸式体验。该专利中还介绍了智能阴影技术,通过选择性遮挡 AR 内容,保留其他区域的自然视觉。IT之家附上相关截图如下:


英伟达在专利中,通过整合上述系统和技术,不仅显著降低了 AR 眼镜的功耗,还实现了更轻便的设计,并带来了卓越的户外性能和更自然的视觉体验,有望重塑 AR 眼镜的未来。这项专利技术不仅解决了户外显示的难题,还提升了用户体验,为 AR 技术的普及应用奠定了基础。
广告声明:文内含有的对外跳转链接(包括不限于超链接、二维码、口令等形式),用于传递更多信息,节省甄选时间,结果仅供参考,IT之家所有文章均包含本声明。
相关文章

最新评论