行业ETF风向标丨银行股持续走高,银行ETF优选半日涨停
每经记者 刘明涛 每经编辑 赵云
12月25日上午,银行板块继续走高,其中,银行ETF优选(517900)表现极其抢眼,半日实现涨停,成交1020.39万元。

投资逻辑来看,银行AH股溢价仍处于历史较高水平,一方面,税收政策预期改善、资金面支撑下溢价有望收敛。另一方面,H股的折价也带来了股息优势。
红利角度,H股股息率较高、近三年分红比例稳定在30%以上、资本充足的有建行、工行、重庆农商行。成交角度,近一年换手率较高的有农行、工行、招行、重庆农商行,同时也应关注H股流通盘较大的建行。资金面角度,国内投资者持股比例高的有建行、光大银行、工行,预计其H股资金面受海外利率变动等外部冲击的影响较小。
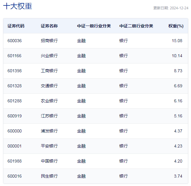
点评:银行ETF优选(517900)今日上午实现涨停,其规模较小,只有0.47亿份,半日成交金额为1020万元,该ETF追踪的是中证银行AH价格优选指数。
中证银行AH价格优选指数是一种反映证券和资金市场表现的重要指标,专门用于跟踪在A股和H股上市的银行类股票的表现。

中证银行AH价格优选指数主要权重股
点评:银行ETF指数基金(516210)半日涨幅为1.26%,其规模为0.99亿份,半日成交金额为524万元,该ETF追踪的是中证银行指数,追踪该指数的ETF还包括银行ETF龙头(512820)、银行ETF天弘(515290)等。其中,银行ETF(512800)规模较大,达到46.55亿份,该ETF半日涨幅为0.88%,半日成交金额达到3.69亿元。
中证银行指数(399986.SZ)发布于2013年7月15日,为反映中证全指指数样本中银行行业公司证券的整体表现,为投资者提供分析工具。成分股分布于银行业,平均市值较大,持仓集中度较高。

中证银行指数主要权重股
点评:银行ETF(159887)今日上午涨幅为0.92%,该ETF规模为3.01亿份,半日成交金额达到5921.79万元,其追踪的是中证800银行指数。
中证800银行指数(指数代码:h30022.CSI)是一个专门跟踪中证800指数中银行行业股票表现的行业指数。该指数从中证800指数的全部样本股中,按照行业分类标准选择银行行业内的全部股票进行编制,以反映中证800指数中银行行业的市场表现。

中证800银行指数主要权重股
相关文章

最新评论